
作者:admin 发布时间:2022-07-20 浏览量:438
目前,全球提倡节能节耗,随着城市化的不断发展,清洁能源的需求量与日俱增,因此各地天然气、液化气等管道建设纷纷上马,尤其是新小区建设中已将集中供热、暖通、燃气作为的配套项目。因此为了便于配气和维护在各类输气管道上必须安装相应规格的球阀。由于供热输气管道中的密封性能要求较高,因此此类阀门要求耐压性好、无泄漏点,而现有的阀门由于密封结构不合理泄漏点多,因此很难用于输气管道上。
全焊接式球阀是一种耐压性好、结构简单、节能降耗的阀门,是一种集中供热暖通天然气、液化石油气管道配件,尤其适合安装在蒸汽输送管道上的便于安装和配送气的阀门。
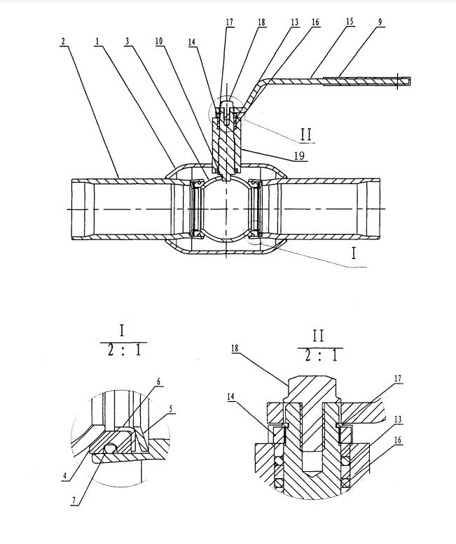
全焊接式球阀结构组成(图1)介绍如下:
包括阀体l、阀体1的两端各焊接有一个一端伸入阀体1中的阀管2,其特征是所述的两个阀管2伸入阀体1中的一端上均安装有密封座4,球体3分别与两侧的密封座4上的球面端面相抵,各密封座4的另一端插入阀管2中并与对应的支撑环6相抵,碟簧5卡装在所述的支撑环6和阀管2端部的管肩之间,球体3上设有一个与阀管2相通的通孔,在球体3上连接有带动球体3转动的阀杆10,阀杆10安装在固定于阀体1上的阀杆座19中,在阀杆10和阀杆座19之间安装有两个密封圈16,在两个密封圈16之间加装有垫圈13,在阀杆10的顶部卡装有弹性卡圈17,操作手柄15通过紧固件18套装固定在阀杆10上并与弹性卡圈17相抵,在弹性卡圈17和阀杆座19的上端面之间安装有压盖14。
图1:全焊接式球阀结构示意图
上一篇:全焊接球阀安全评估
下一篇:深度解析气动硬密封蝶阀