
作者:超级管理员 发布时间:2024-03-06 浏览量:793
全焊接球阀是一种采用整体焊接工艺制造的球阀,具有良好的密封性、耐腐蚀性、使用寿命长等特点,广泛应用于城市燃气、石油化工、造船、发电等领域。
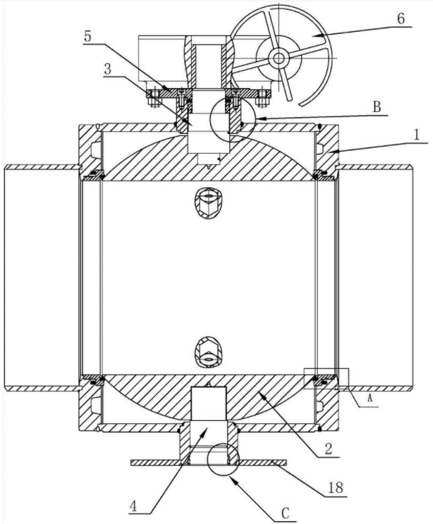
全焊接球阀之所以具备上述特点及被广泛应用,与其阀体结构的特殊性有着很大的关系,其结构示意图如下所示:

全焊接球阀结构示意图
全焊接球阀的结构讲解:
1、整体焊接:阀体采用整体焊接工艺制造,结构紧凑,无泄漏风险。
2、密封性能好:阀座采用PTFE密封环及弹簧组成,密封性能优良,可满足高压、高温工况要求。
3、耐腐蚀性强:阀体和阀座材料均具有良好的耐腐蚀性,可适用于各种腐蚀性介质。
4、使用寿命长:结构合理,零件磨损小,使用寿命长。
上一篇:硬密封蝶阀内漏的解决方案
下一篇:埋地式全焊接球阀的安装方法介绍